Apple złożył wniosek patentowy na nową torbę do przeprowadzenia zakupów dokonanych wewnątrz Apple Store. Nie, to nie jest żart. Więc co wyróżnia ten przedmiot nie wymagający specjalnej technologii, żeby firma musiała go opatentować?
Większość papierowych toreb z recyklingu wykonanych jest z 40-50 % siarczanu bielonego. W specjalnej torbie będzie to 60 %. Apple mówi, że papier ten stanowi „wyrafinowane dopasowanie i wykończenie”.
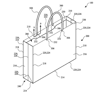
Dodatkowo torba jest wzmocniona, aby zapobiec rozdarciom, a kołnierz wokół dodatkowo ją wzmacnia. Patent został złożony 7 marca i nazywa się po prostu Bag.
Oczywiście nie mogło zabraknąć żartów z tego typu patentu. Conan O’Brien i jego zespół Coco przygotowali specjalny klip, który możecie obejrzeć poniżej:
Źródło: USPTO, TeamCoco
