Jedynym flagowcem od HMD Global na razie jest Nokia 8. Dużo mówiło się od kilku miesięcy o Nokii 9, która może zostać ogłoszona już w lutym. Ostatnio pojawiły się też informacje o modelu Nokia 10 z pięcioma obiektywami aparatu. Poza słabymi schematami i anonimowymi doniesieniami nic więcej nie wiadomo. Inny przeciek mówi, że w rzeczywistości Nokia 10 powstanie w tym roku i będzie mięć platformę mobilną Snapdragon 845.
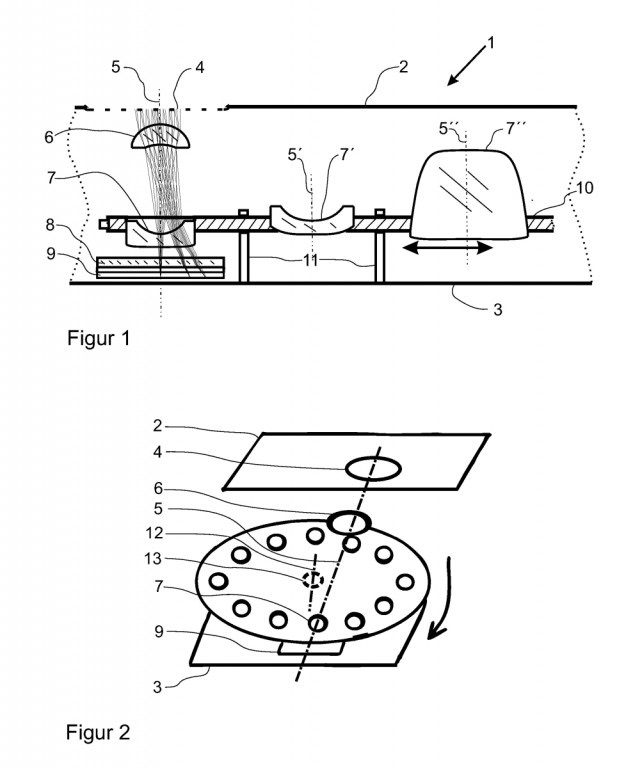
Powstało już kilka innych plotek na jego temat, ale najnowsze doniesienia od anonimowej osoby związanej z branżą pokazują szczegółowy szkic tylnej części Nokii 10. Idealnie przedstawia to patent ZIESS, który dotyczy rozwiązania dla aparatu z wieloma obiektywami dla urządzenia mobilnego. Technologia wykorzystuje szereg dodatkowych obiektywów o różnych długościach ogniskowych, zamontowanych na obrotowej podstawie, która znajduje się pomiędzy czujnikiem aparatu, a nieruchomym obiektywem.
Jak pokazują szkice, układ jest umieszczony w okrągłym module kamery z tyłu urządzenia. Obiektywy obracają się wewnątrz i obracają się. Ma posiadać też dodatkowy aparat z szerokokątnym obiektywem.
Pozostałe cechy Nokii 10 pozostają tajemnicą. Możemy przypuszczać, że będzie miał chipset Snapdragon 845 oraz wiele wspólnych cech z nadchodzącą Nokią 9.
Źródło: NPU
